接合方法

棚の天板と側板や机の脚など、接合方法の解説です。テンプレート図面からのご注文では、必要量のクギ・ビスが付属されます。

クギ打ち

  • 下穴もいらず、安く簡単な方法
  • クギの頭が気になる時は、頭を金槌で潰してから打ち込むと、木に潜り込んみ多少目立たなくなります。
  • 板が割れそうな時には、先端を金槌で潰すと効果あり
  • 留める板にクギと同じ方向で力が加わると、クギが抜けます。その場合は、ネジ留めの方が効果あり。
  • 加工費:¥0 クギ:お客さまにて別途ご購入下さい

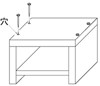
ビス留め

  • 強い力で確実に接合できます。
  • ビスの頭側の板に穴が必要。ねじ込まれる側の板への下穴は不要。ただしパイン集成材は硬めなので、キリで軽くもむ事をお薦めします。尚当隊では、このキリもみは出来ません。。 
  • ビスはFビスがお薦め。木ネジやコーススレッドより細く、先端にキリが付いているので、くい込みが良好。Fビスに慣れた人なら電動ドライバーを使って、ビス頭側の穴も無しで留められます。
  • 外観に、ビス頭の見える事が欠点。デザインと割り切っちゃう?
  • ビスの下穴はφ3.5mmの穴加工にて承ります。加工費はこちらをご参照ください

ミゾサネ

  • 接合する板の両内側に溝を彫り、サネと呼ばれる板を挟み込んで木工ボンドで接着。
  • 外に見えてこないので、外観がスッキリ!
  • しっかり接着すれば強度も充分。
  • 加工費はこちらをご参照ください
  • 十字の固定棚板・仕切りも作れます。

▲このページトップへ